xpath定位元素方法_Web自动化测试:xpath元素定位深入讲解
一、Xpath高级用法基础格式格式/轴方法::标签名[标签属性]实例//div/parent::span[@name=‘interName’]实例解释:定位span标签,span标签是div标签的父级,且span标签的name属性值为:interlNmae二、基础格式详解2.1层级路径格式讲解实例2.2标签位置以及标签属性讲解实例2.3 xpath轴方法讲解实例2.4常用运算符三、实例演示常见场景
·
一、Xpath高级用法基础格式
- 格式
/轴方法::标签名[标签属性] - 实例
//div/parent::span[@name=‘interName’] - 实例解释:
定位span标签,span标签是div标签的父级,且span标签的name属性值为:interlNmae
二、基础格式详解
2.1层级路径格式
- 讲解
- 实例
2.2标签位置以及标签属性
- 讲解
- 实例
2.3 xpath轴方法
- 讲解
- 实例
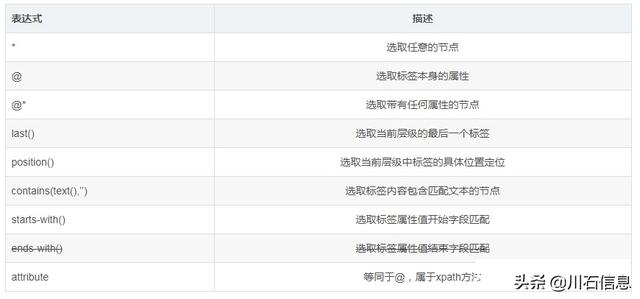
2.4常用运算符
三、实例演示
- 常见场景:输入框定位有时候经常遇到输入框表单很多,也没有唯一标识id等,chrome复制的xpath非常的长,而且容易失效,但是如果根据输入框前的字段名称来作为标识,那定位就比较稳定了。这里我来演示的是百度的注册页面,这里输入框的输入通过字段名称来作为唯一标识,来定位输入框
xpath = //label[text()=‘用户名’]/following-sibling::input[last()]
代码:from selenium import webdriverdriver = webdriver.Chrome()driver.implicitly_wait(10)driver.set_page_load_timeout(15)driver.get("https://passport.baidu.com/v2/?login")# 点击注册driver.find_element("xpath", "//a[text()='立即注册']").click()# 切换页签all_handle = driver.window_handlesdriver.switch_to.window(all_handle[1])# 定位标签driver.find_element("xpath", "//label[text()='用户名']/following-sibling::input[last()]").send_keys("川石学院")driver.find_element("xpath", "//label[text()='手机号']/following-sibling::input[last()]").send_keys("13691729932")driver.find_element("xpath", "//label[text()='密码']/following-sibling::input[last()]").send_ke
更多推荐




所有评论(0)